
포드자동차가 추운 겨울철 차량을 이용하는 소비자들을 위해 열선 안전벨트에 대해 특허권 등록을 마쳤다.
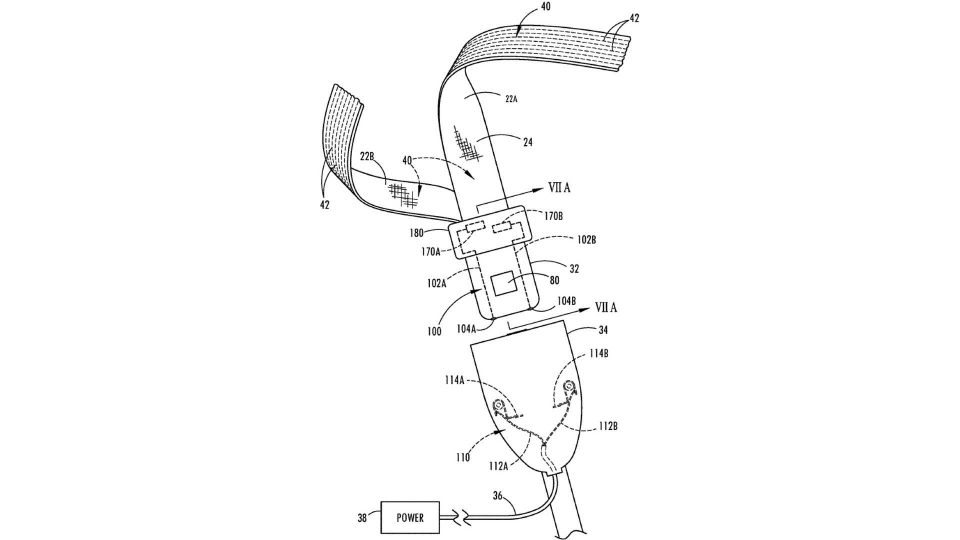
미국 특허·상표국에 등록된 31장의 열선 안전벨트 기술설명서에 따르면, 벨트 섬유 속에 전기로 작동하는 열선을 넣어 탑승자가 벨트를 착용하면 작동하는 방식이다. 더불어 다양한 콘셉트와 벨트 그리고 버클 디자인 등이 등록됐다.
열선 안전벨트가 쓸데없는 아이디어라고 생각할 수 있지만, 열선 스티어링 휠 기술이 처음 소개됐을 때도 비슷한 비판이 존재했었다. 포드 측은 작은 요소 하나로 고객들에게 기대 이상의 만족감을 제공하는데 의의를 두는 것으로 알려졌다.
